Outlet: 50-150m
Flow Capacity: 10.8-364 m³/h
Discharge head: 2.4-45.5 m
Speed:590-1480 r/min
Kenda ZJL Series vertical slurry pumps feature a cantilever design with no submerged bearings or shaft seals. Ideal for corrosive sumps and coarse particles. Reliable performance in deep pits. View specifications.
Kenda ZJL Series Vertical (Sump) Slurry Pump
Rugged vertical cantilever design for submerged applications. No shaft seal required.
The ZJL series is a vertical, centrifugal slurry pump designed to be immersed in liquid for conveying abrasive, coarse particles, and high-concentration slurry. It is the ideal choice for sump drainage and floor spillage applications.
Technical Advantages
No Submerged Bearings: Cantilever shaft design eliminates submerged bearing failures.
Run Dry Capability: Can operate even when the suction is insufficient or runs dry.
Corrosion Resistant: Available in anti-corrosive elastomers and alloys.
Direct Installation: Directly submerged in the slurry pool/pit, saving floor space.
Design Advantages
The pump shaft is rigid and robust. Since there are no bearings or seals under the liquid level, maintenance is minimal.
Single Casing Structure: Simple construction focused on durability and ease of disassembly.
Versatile Drive Types: Supports Direct Connection (DC) and V-Belt Drive (BD) to adjust pump speed and head easily.
Model significance

Symbol | A | B | C | D | E | F | G | ... |
No. of Vanes | 5 | 4 | 3 | 2 | 1 | 6 | 7 | ... |
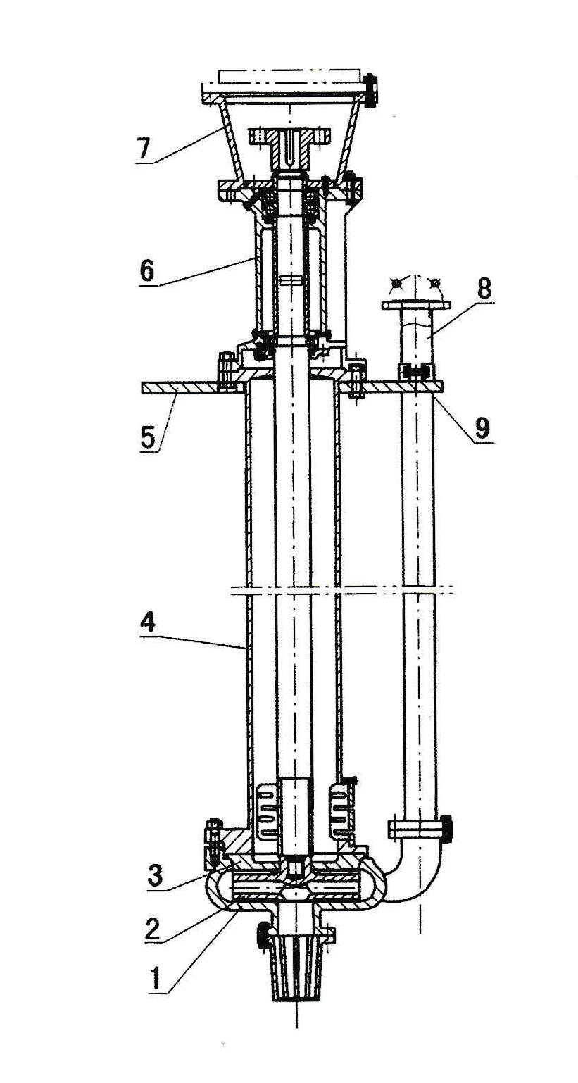
Structure

1 | Volute / Volute Liner | 3 | Back Liner / Frame Plate Liner Insert | 5 | Left Support Plate | 7 | Motor Support / Motor Base | 9 | Right Support Plate |
2 | Impeller | 4 | Bracket / Frame | 6 | Bearing Assembly / Bearing Housing | 8 | Discharge Pipe |
Quick Selection Chart


Technical Specifications Chart
Type | Speed n | Capacity Q | Head H | Power of shaft Pa | Eff. n | Motors |
r/min | m3/h | m | Kw | % | ||
150ZJL-A35 | 980 | 198 332 364 | 17.9 13.2 12.1 | 15.3 17.5 18.0 | 63.1 68.1 66.8 | Y250M-6 V1 380V 37kW |
730 | 147 247 271 | 10.0 7.3 6.7 | 6.3 7.2 7.4 | 63.1 68.1 66.8 | Y200L-8 V1 380V 15kW | |
590 | 119 200 219 | 6.5 4.8 4.4 | 3.3 3.8 3.9 | 63.1 68.1 66.8 | Y160L-6 B3 380V 11kW | |
100ZJL-A34 | 1480 | 157 214 293 | 36.8 32.6 24.4 | 26.1 29.2 33.5 | 60.2 65.1 58.2 | Y225M-4 V1 380V 45kW |
970 | 103 140 192 | 15.8 14.0 10.5 | 7.4 8.2 9.4 | 60.2 65.1 58.2 | Y180L-6 V1 380V 15kW | |
80ZJL-A36 | 1480 | 105 144 201 | 45.5 41.4 32.5 | 25.0 27.9 32.8 | 52.1 58.2 54.2 | Y225M-4 V1 380V 45kW |
970 | 69 94 132 | 19.5 17.8 14.0 | 7.0 7.8 9.3 | 52.1 58.2 54.2 | Y180L-6 V1 380V 15kW | |
65ZJL-A30 | 1470 | 38 58 98 | 34.7 31.9 26.0 | 8.2 9.7 13.4 | 43.7 51.9 51.7 | Y180M-4 V1 380V 18.5kW |
960 | 25 38 64 | 14.8 13.6 11.1 | 2.3 2.7 3.7 | 43.7 51.9 51.7 | Y132M2-6 B5 380V 5.5kW | |
50ZJL-A20 | 1440 | 17.1 24.7 38.0 | 10.7 9.2 6.0 | 1.4 1.6 2.0 | 34.9 38.6 31.2 | Y112M-4 B5 380V 4kW |
910 | 10.8 15.6 24.0 | 4.3 3.7 2.4 | 0.4 0.4 0.5 | 34.9 38.6 31.2 | Y90L-6 B5 380V 1.1kW |
Industrial Applications
Sump Drainage: Pumping collected spillage from plant floors in concentrators.
Flotation Froth Pumping: The open casing design handles frothy slurries effectively (if applicable to your specific ZJL design).
Coal Washery: Transporting coal slime from sumps.
Chemical Industry: Handling corrosive liquids in open tanks (with rubber lining).
FAQ
Q: Does the ZJL pump need shaft sealing water?
A: No, the ZJL vertical pump does not require any shaft seal or seal water, making it extremely cost-effective to operate.
Q: What is the maximum immersion depth?
A: Standard immersion depths vary by model. For deeper sumps, we can provide extended suction pipes (Suction Extension) to reach lower levels. Please contact our engineers for sizing.