SPECIFICATIONS:
Outlet: 40-350m
Flow Capacity: 4.6-2339 m³/h
Discharge head: 9-133 m
Speed:490-2930 r/min
Engineered for high-abrasive and high-density slurries. The Kenda ZJ Series horizontal slurry pump features high-chrome alloy liners and superior efficiency for mining and coal industries. ISO certified. Get a factory quote today
Kenda ZJ Series heavy-duty horizontal slurry pumps are the ultimate solution for transporting high-concentration, highly corrosive, and abrasive slurries.
The Kenda ZJ Series is a heavy-duty horizontal centrifugal slurry pump designed for the toughest industrial applications. Built on advanced solid-liquid two-phase flow theory, this axial-suction pump features an optimized hydraulic profile that minimizes eddies and hydraulic loss. Its wet-end components are cast from high-hardness chrome alloy, delivering superior resistance to wear, corrosion, and impact. Engineered with dynamic pressure reduction technology to prevent leakage, the ZJ Series ensures high efficiency, low vibration, and an extended service life in mining and mineral processing.
Technical Advantages
Maximum Wear Resistance: High-chrome alloy (A05) wet parts ensure longer service life.
High Efficiency: Advanced hydraulic design reduces energy consumption by up to 20%.
Flexible Seal Options: Available in Gland Packing, Expeller Seal, and Mechanical Seal.
Easy Maintenance: Double-casing structure allows for quick liner replacement.
Structural Highlights
The ZJ series is engineered with a focus on durability and operational efficiency:
Double-Casing Construction: Unlike standard pumps, the ZJ series features a heavy-duty double-shell design. The outer ductile iron casing provides maximum pressure resistance, while the inner replaceable high-chrome liner handles extreme wear.
High-Efficiency Impeller: A specially designed wide-flow path impeller reduces internal velocity and turbulence, significantly minimizing erosive wear when handling large particles and abrasive slurries.
Versatile Shaft Seal Options:
Expeller Seal (Dynamic Seal): Ideal for dry operation; prevents leakage without the need for external flush water.
Packing Seal: A cost-effective, reliable solution for standard maintenance routines.
Mechanical Seal: Engineered for zero-leakage performance in critical or chemical-related applications.
Product Classification
To meet diverse industrial requirements, Kenda provides a comprehensive range of configurations:
Construction Types:
Double-Casing Models: Includes ZJ, ZJJ, and ZJG series (designed for high-pressure and heavy-abrasion environments).
Single-Casing Models: Includes ZJD, ZJL, and ZJG (optimized for specific installation footprints or lighter duty).
Discharge Diameter Range: From compact 40mm units to large-scale 400mm industrial outputs. (Available Sizes: 40mm, 50mm, 65mm, 80mm, 100mm, 150mm, 200mm, 250mm, 300mm, 350mm, 400mm)
Model significance

Symbol | A | B | C | D | E | F | G | ... |
No. of Vanes | 5 | 4 | 3 | 2 | 1 | 6 | 7 | ... |
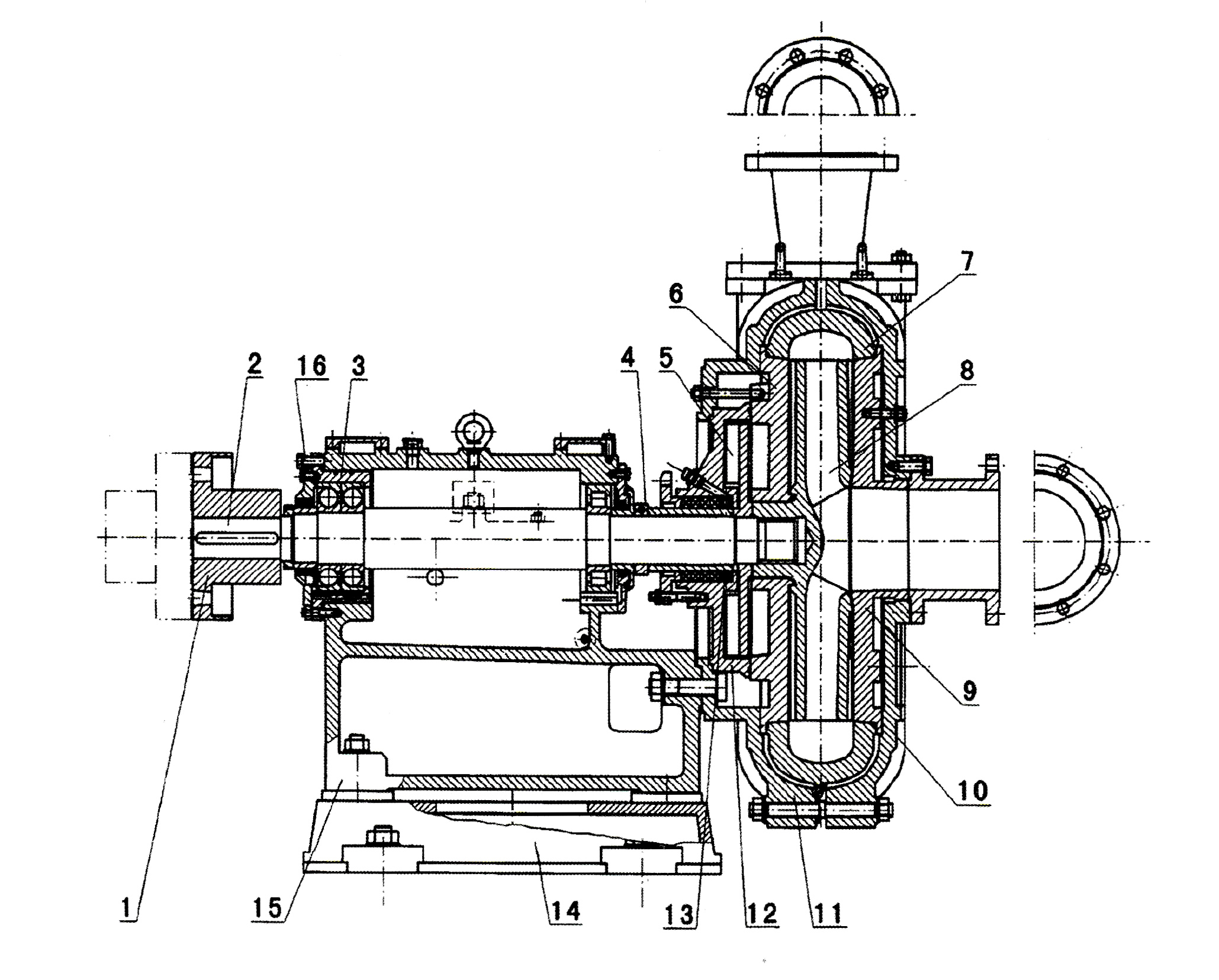
Structure

1 | Coupling | 5 | Expeller | 9 | Throat Bush | 13 | Lantern Ring |
2 | Shaft | 6 | Frame Plate Liner | 10 | Front Pump Casing | 14 | Base |
3 | Bearing House | 7 | Volute Liner | 11 | Rear Pump Casing | 15 | Bracket (Frame) |
4 | Release Collar (Discharge Ring) | 8 | Impeller | 12 | Stuffing Box | 16 | Adjusting Screw |
Quick Selection Chart



Technical Specifications Chart
Type | Speed n | Capacity Q | Head H | Power of shaft Pa | Eff. n | NPSH r | Motors | |
Type | Power/Voltage | |||||||
r/min | m3/h | m | Kw | % | m | Kw/V | ||
350ZJ-1-F100 | 590 | 1035 1988 2339 | 62.8 59.4 55.0 | 293.1 417.6 455.6 | 60.4 77.0 76.9 | 5.8 | Y450-10 Y500-10 Y500-10 | 355/6000 500/6000 560/6000 |
490 | 860 1651 1943 | 43.3 41.0 37.9 | 167.9 239.4 260.8 | 60.4 77.0 76.9 | 4.4 | Y450-12 Y500-12 Y500-12 | 220/6000 315/6000 315/6000 | |
300ZJ-I-A100 | 590 | 913 1785 1826 | 65.2 59.7 59.3 | 243.0 361.0 365.4 | 66.7 80.4 80.7 | 4.1 | Y450-10 Y500-10 Y500-10 | 315/6000 450/6000 450/6000 |
490 | 758 1482 1517 | 45.0 41.2 40.9 | 139.3 206.8 209.4 | 66.7 80.4 80.7 | 3.0 | Y450-12 Y450-12 Y450-12 | 185/6000 250/6000 250/6000 | |
300ZJ-I-A95 | 590 | 867 1696 1735 | 58.8 53.9 53.5 | 217.9 321.6 325.3 | 63.7 77.4 77.7 | 4.1 | Y450-10 Y500-10 Y500-10 | 280/6000 400/6000 400/6000 |
490 | 720 1408 1441 | 40.6 37.2 36.9 | 125.0 184.3 186.4 | 63.7 77.4 77.7 | 3.0 | Y450-12 Y450-12 Y450-12 | 185/6000 220/6000 220/6000 | |
300ZJ-1-A90 | 730 | 922 1648 1844 | 79.9 73.6 70.7 | 290.3 410.3 436.2 | 69.1 80.5 81.4 | 5.7 | Y450-8 Y500-8 Y500-8 | 355/6000 500/6000 560/6000 |
590 | 745 1332 1490 | 52.2 48.1 46.2 | 153.3 216.7 230.3 | 69.1 80.5 81.4 | 3.9 | Y450-10 Y450-10 Y450-10 | 185/6000 280/6000 280/6000 | |
300ZJ-1-A85 | 730 | 871 1556 1742 | 71.3 65.6 63.1 | 255.9 358.7 381.8 | 66.1 77.5 78.4 | 5.6 | Y450-8 Y450-8 Y450-8 | 315/6000 450/6000 450/6000 |
590 | 704 1258 1408 | 46.6 42.9 41.2 | 135.2 189.6 201.5 | 66.1 77.5 78.4 | 3.8 | Y355L2-10 Y450-10 Y450-10 | 160/380 220/6000 250/6000 | |
300ZJ-I-A70 | 980 | 1269 2118 2333 | 76.8 66.7 64.0 | 368.6 480.9 505.8 | 72.0 80.0 80.4 | 7.0 | Y450-6 Y450-6 Y450-6 | 450/6000 630/6000 630/6000 |
730 | 945 1578 1738 | 42.6 37.0 35.5 | 152.3 198.8 209.0 | 72.0 80.0 80.4 | 3.9 | Y355L1-8 Y400-8 Y400-8 | 185/380 250/6000 250/6000 | |
300ZJ-1-A65 | 980 | 1178 1967 2166 | 66.2 57.5 55.2 | 307.8 400.0 420.7 | 69.0 77.0 77.4 | 6.6 | Y450-6 Y450-6 Y450-6 | 400/6000 500/6000 500/6000 |
730 | 877 1465 1614 | 36.7 31.9 30.6 | 127.0 165.3 173.8 | 69.0 77.0 77.4 | 3.7 | Y355M2-8 Y355L2-8 Y400-8 | 160/380 200/380 220/6000 | |
300ZJ-I-A56 | 980 | 789 1415 1568 | 46.0 40.8 38.8 | 148.6 195.6 204.8 | 66.5 80.4 80.9 | 5.5 | Y355M2-6 Y355L2-6 Y355L2-6 | 185/380 250/380 250/380 |
730 | 588 1054 1168 | 25.5 22.6 21.5 | 61.4 80.7 84.5 | 66.5 80.4 80.9 | 3.5 | Y315M-8 Y315L2-8 Y315L2-8 | 75/380 110/380 110/380 | |
250ZJ-1-A103 | 730 | 734 1067 1573 | 110.5 106.7 98.9 | 366.3 445.5 568.7 | 60.3 69.6 74.5 | 4.3 | Y450-8 Y500-8 Y500-8 | 450/6000 560/6000 710/6000 |
590 | 593 862 1271 | 72.2 69.7 64.6 | 193.4 235.1 300.1 | 60.3 69.6 74.5 | 2.8 | Y450-10 Y450-10 Y450-10 | 250/6000 280/6000 255/6000 | |
250ZJ-1-A96 | 730 | 736 1076 1466 | 93.7 90.0 84.5 | 290.7 356.4 433.6 | 64.6 74.0 77.8 | 5.5 | Y450-8 Y450-8 Y500-8 | 355/6000 450/6000 560/6000 |
590 | 595 870 1185 | 61.2 58.8 55.2 | 153.5 188.3 229.0 | 64.6 74.0 77.8 | 3.5 | Y450-10 Y450-10 Y450-10 | 185/6000 250/6000 280/6000 | |
250ZJ-|-A90 | 730 | 690 1009 1374 | 82.4 79.1 74.3 | 255.5 310.5 376.7 | 60.6 70.0 73.8 | 5.3 | Y450-8 Y450-8 Y450-8 | 315/6000 400/6000 450/6000 |
590 | 558 816 1111 | 53.8 51.7 48.5 | 134.9 164.1 198.8 | 60.6 70.0 73.8 | 3.4 | Y355L2-10 Y450-10 Y450-10 | 160/380 200/6000 250/6000 | |
250ZJ-I-A85 | 980 | 752 1248 1504 | 128.7 124.4 120.4 | 446.0 587.2 652.3 | 59.1 72.0 75.6 | 5.5 | Y450-6 Y500-6 Y500-6 | 560/6000 710/6000 800/6000 |
730 | 560 930 1120 | 71.4 69.0 66.8 | 184.2 242.7 269.5 | 59.1 72.0 75.6 | 3.5 | Y400-8 Y450-8 Y450-8 | 220/6000 315/6000 315/6000 | |
250ZJ-I-A83 | 980 | 734 1219 1469 | 122.7 118.6 114.8 | 422.1 554.5 615.5 | 58.1 71.0 74.6 | 5.5 | Y450-6 Y500-6 Y500-6 | 500/6000 710/6000 800/6000 |
730 | 547 908 1094 | 68.1 65.8 63.7 | 174.6 229.2 254.4 | 58.1 71.0 74.6 | 3.5 | Y400-8 Y400-8 Y450-8 | 220/6000 280/6000 315/6000 | |
250ZJ-|-A80 | 980 | 708 1175 1416 | 114.0 110.2 106.7 | 391.8 511.1 566.7 | 56.1 69.0 72.6 | 5.4 | Y450-6 Y450-6 Y500-6 | 500/6000 630/6000 710/6000 |
730 | 527 875 1054 | 63.2 61.1 59.2 | 161.7 211.0 234.1 | 56.1 69.0 72.6 | 3.4 | Y400-8 Y400-8 Y400-8 | 200/6000 280/6000 280/6000 | |
250ZJ-I-A78 | 980 | 830 1430 1796 | 102.5 92.1 84.2 | 374.9 500.9 559.5 | 61.8 71.6 73.6 | 6.3 | Y450-6 Y450-6 Y450-6 | 450/6000 560/6000 630/6000 |
730 | 618 1065 1338 | 56.9 51.1 46.7 | 155.0 207.0 231.2 | 61.8 71.6 73.6 | 3.2 | Y355L1-8 Y400-8 Y400-8 | 185/380 250/6000 280/6000 | |
250ZJ-1-A75 | 980 | 600 1100 1480 | 97.5 92.0 83.2 | 255.7 362.6 443.6 | 62.3 76.0 75.6 | 4.1 | Y400-6 Y450-6 Y450-6 | 315/6000 450/6000 560/6000 |
730 | 447 819 1102 | 54.1 51.0 46.2 | 105.7 149.7 183.4 | 62.3 76.0 75.6 | 3.0 | Y355M1-8 Y355L1-8 Y400-8 | 132/380 185/380 220/6000 | |
250ZJ-1-A73 | 980 | 584 1071 1441 | 92.4 87.2 78.8 | 239.7 339.1 414.5 | 61.3 75.0 74.6 | 4.1 | Y400-6 Y400-6 Y450-6 | 280/6000 400/6000 500/6000 |
730 | 435 797 1073 | 51.3 48.3 43.8 | 99.1 139.8 171.6 | 61.3 75.0 74.6 | 3.0 | Y355M1-8 Y355L1-8 Y355L2-8 | 132/380 185/380 200/380 | |
250ZJ-I-A70 | 980 | 560 1027 1381 | 84.9 80.1 72.5 | 218.3 306.9 375.6 | 59.3 73.0 72.6 | 3.9 | Y400-6 Y400-6 Y450-6 | 280/6000 400/6000 450/6000 |
730 | 417 764 1029 | 47.1 44.4 40.2 | 90.2 126.5 155.2 | 58.3 72.0 72.6 | 2.9 | Y315L2-8 Y355M2-8 Y355L1-8 | 110/380 160/380 185/380 | |
250ZJ-I-A68 | 980 | 544 997 1342 | 80.1 75.6 68.4 | 203.5 285.1 349.1 | 58.3 72.0 71.6 | 3.7 | Y355-6 Y400-6 Y450-6 | 250/6000 355/6000 450/6000 |
730 | 405 743 999 | 44.5 41.9 38.0 | 84.2 117.8 144.4 | 58.3 72.0 71.6 | 2.7 | Y315L2-8 Y355M2-8 Y355L1-8 | 110/380 160/380 185/380 | |
250ZJ-1-A65 | 980 | 597 970 1249 | 71.0 66.2 61.4 | 178.1 233.2 271.6 | 64.8 75.0 76.9 | 4.5 | Y355-6 Y400-6 Y400-6 | 220/6000 280/6000 315/6000 |
730 | 445 723 930 | 39.4 36.7 34.1 | 73.7 96.3 112.3 | 64.8 75.0 76.9 | 3.0 | Y315L1-8 Y355M1-8 Y355M1-8 | 90/380 132/380 132/380 | |
250ZJ-1-A63 | 980 | 570 940 1211 | 66.7 62.2 57.7 | 164.8 215.2 250.7 | 63.8 74.0 75.9 | 4.5 | Y355-6 Y355-6 Y400-6 | 200/6000 250/6000 315/6000 |
730 | 431 701 901 | 37.0 34.5 32.0 | 68.1 89.0 103.4 | 63.8 74.0 75.9 | 3.0 | Y315L1-8 Y315L2-8 Y355M1-8 | 90/380 110/380 132/380 | |
250ZJ-1-A60 | 980 | 551 895 1153 | 60.5 56.4 52.3 | 146.9 190.9 222.2 | 61.8 72.0 73.9 | 4.2 | Y355M2-6 Y355L2-6 Y400-6 | 185/380 250/380 280/6000 |
730 | 411 667 858 | 33.6 31.3 29.1 | 60.7 79.0 92.0 | 61.8 72.0 73.9 | 2.8 | Y315M-8 Y315L2-8 Y315L2-8 | 75/380 110/380 110/380 | |
250ZJ-I-A85 | 980 | 441 858 907 | 133.7 128.2 127.9 | 321.1 437.9 448.1 | 50.0 68.4 70.5 | 5.0 | Y400-6 Y450-6 Y450-6 | 400/6000 560/6000 560/6000 |
730 | 329 639 676 | 74.2 71.1 71.0 | 133.0 180.9 185.4 | 50.0 68.4 70.5 | 2.8 | Y355M2-8 Y400-8 Y400-8 | 160/380 220/6000 220/6000 | |
250ZJ-I-A75 | 980 | 450 750 900 | 102.9 95.7 91.0 | 205.4 271.5 306.4 | 61.4 72.0 72.8 | 4.5 | Y355-6 Y400-6 Y400-6 | 250/6000 355/6000 355/6000 |
730 | 335 559 670 | 57.1 53.1 50.5 | 84.8 112.3 126.6 | 61.4 72.0 72.8 | 3.0 | Y315L2-8 Y355M1-8 Y355M2-8 | 110/380 132/380 160/380 | |
250ZJ-I-A73 | 980 | 438 730 876 | 97.5 90.7 86.2 | 192.5 254.0 286.4 | 60.4 71.0 71.8 | 4.5 | Y355-6 Y400-6 Y400-6 | 250/6000 315/6000 355/6000 |
730 | 326 544 652 | 54.1 50.3 47.8 | 79.5 105.0 118.2 | 60.4 71.0 71.8 | 3.0 | Y315L2-8 Y355M1-8 Y355M2-8 | 110/380 132/380 160/380 | |
200ZJ-1-A70 | 980 | 409 738 976 | 80.4 82.3 77.6 | 172.5 230.7 272.8 | 55.8 71.7 75.6 | 3.8 | Y355M3-6 Y400-6 Y400-6 | 200/380 280/6000 315/6000 |
730 | 305 550 727 | 47.9 45.7 43.1 | 71.3 95.5 112.9 | 55.8 71.7 75.6 | 2.8 | Y315L1-8 Y355M1-8 Y355M1-8 | 90/380 132/380 132/380 | |
200ZJ-1-A68 | 980 | 397 717 948 | 81.5 77.7 73.2 | 160.8 214.6 253.3 | 54.8 70.7 74.6 | 3.8 | Y355M3-6 Y355-6 Y400-6 | 200/380 250/6000 315/6000 |
730 | 296 534 706 | 45.2 43.1 40.7 | 66.5 88.7 104.9 | 54.8 70.7 74.6 | 2.8 | Y315L1-8 Y315L2-8 Y355M1-8 | 90/380 110/380 132/380 | |
200ZJ-1-A65 | 980 | 470 820 950 | 72.0 68.1 65.6 | 145.8 197.5 213.2 | 63.2 77.0 79.6 | 4.3 | Y355M2-6 Y355-6 Y355-6 | 185/380 250/6000 250/6000 |
730 | 350 611 708 | 40.0 37.8 36.4 | 60.3 81.7 88.2 | 63.2 77.0 79.6 | 2.5 | Y315M-8 Y315L2-8 Y315L2-8 | 75/380 110/380 110/380 | |
200ZJ-1-A63 | 980 | 456 795 921 | 67.6 64.0 61.6 | 135.0 182.3 196.6 | 62.2 76.0 78.6 | 4.3 | Y355M1-6 Y355-6 Y355-6 | 160/380 220/6000 250/6000 |
730 | 339 592 686 | 37.5 35.5 34.2 | 55.7 75.3 81.3 | 62.2 76.0 78.6 | 2.5 | Y315M-8 Y315L2-8 Y315L2-8 | 75/380 110/380 110/380 | |
200ZJ-I-A60 | 980 | 435 740 870 | 62.0 58.0 55.5 | 114.0 146.1 159.0 | 64.4 80.0 82.7 | 4.0 | Y315L2-6 Y355M2-6 Y355M2-6 | 132/380 185/380 185/380 |
730 | 324 551 648 | 34.4 32.2 30.8 | 47.1 60.4 65.7 | 64.4 80.0 82.7 | 2.5 | Y315M-8 Y315L1-8 Y315L1-8 | 75/380 90/380 90/380 | |
300ZJ-1-A58 | 980 | 421 715 841 | 57.9 54.2 51.9 | 104.7 133.6 145.5 | 63.4 79.0 81.7 | 4.0 | Y315L2-6 Y355M1-6 Y355M2-6 | 132/380 160/380 185/380 |
730 | 313 533 626 | 32.1 30.1 28.8 | 43.2 55.3 60.1 | 63.4 79.0 81.7 | 2.5 | Y315S-8 Y315M-8 Y315M-8 | 55/380 75/380 75/380 | |
150ZJ-I-A71 | 980 | 284 486 552 | 93.8 89.3 87.1 | 133.9 174.3 188.4 | 54.2 67.8 69.5 | 4.0 | Y355M1-6 Y355L1-6 Y355L1-6 | 160/380 220/380 220/380 |
730 | 212 362 411 | 52.0 49.6 48.3 | 55.4 72.1 77.8 | 54.2 67.8 69.5 | 2.4 | Y315M1-8 Y315M2-8 Y315M2-8 | 75/380 90/380 90/380 | |
150ZJ-1-A70 | 980 | 186 285 401 | 91.2 87.1 79.8 | 95.4 115.8 139.9 | 48.4 58.4 62.3 | 3.0 | Y315L2-6 Y355M1-6 Y355M2-6 | 132/380 160/380 185/380 |
730 | 139 212 299 | 50.6 48.3 44.3 | 39.6 47.7 57.9 | 48.4 58.4 62.3 | 2.0 | Y315S-8 Y315M-8 Y315M-8 | 55/380 75/380 75/380 | |
150ZJ-I-A65 | 980 | 300 500 600 | 75.7 73.0 69.1 | 112.0 144.1 161.5 | 55.2 69.0 70.2 | 4.0 | Y315L2-6 Y355M2-6 Y355M3-6 | 132/380 185/380 200/380 |
730 | 223 372 447 | 42.0 40.5 38.5 | 46.2 59.5 66.8 | 55.2 69.0 70.2 | 2.5 | Y315M-8 Y315M-8 Y315L1-8 | 75/380 75/380 90/380 | |
150ZJ-1-A63 | 980 | 291 485 582 | 71.1 68.6 65.2 | 104.0 133.2 149.3 | 54.2 68.0 69.2 | 4.0 | Y315L2-6 Y355M1-6 Y355M2-6 | 132/380 160/380 185/380 |
730 | 216 361 433 | 39.5 38.0 36.2 | 42.9 54.9 61.7 | 54.2 68.0 69.2 | 2.5 | Y315S-8 Y315M-8 Y315M-8 | 55/380 55/380 75/380 | |
150ZJ-1-A60 | 980 | 270 470 550 | 63.5 60.5 58.7 | 80.2 107.6 117.9 | 58.2 72.0 74.6 | 3.8 | Y315L1-6 Y315L2-6 Y355M1-6 | 110/380 132/380 160/80 |
730 | 201 350 410 | 35.2 33.6 32.6 | 33.1 44.5 48.8 | 58.2 71.0 74.6 | 2.5 | Y280M-8 Y315S-8 Y315M-8 | 45/380 55/380 75/380 | |
150ZJ-I-A58 | 980 | 261 454 532 | 59.3 56.5 54.9 | 73.7 98.4 108.1 | 57.2 71.0 73.6 | 3.8 | Y315M-6 Y315L2-6 Y315L2-6 | 90/380 132/380 132/380 |
730 | 194 338 396 | 32.9 31.4 30.5 | 30.4 40.7 44.7 | 57.2 71.0 73.6 | 2.5 | Y280S-8 Y315S-8 Y315S-8 | 37/380 55/380 55/380 | |
150ZJ-1-C58 | 980 | 268 458 596 | 61.0 56.0 51.2 | 78.7 105.5 120.3 | 56.6 66.2 69.1 | 3.2 | Y315L1-6 Y355L2-6 Y355M1-6 | 110/380 132/380 160/380 |
730 | 200 341 444 | 33.8 31.1 28.4 | 32.5 43.6 49.7 | 56.6 66.2 69.1 | 2.0 | Y280M-8 Y315S-8 Y315M-8 | 45/380 55/380 75/380 | |
150ZJ-I-A57 | 980 | 190 301 427 | 56.3 55.4 52.9 | 63.2 77.6 92.4 | 46.1 58.5 66.6 | 2.9 | Y315M-6 Y315L1-6 Y315L1-6 | 90/380 110/380 110/380 |
730 | 142 224 318 | 31.2 30.7 29.4 | 26.2 32.0 38.2 | 46.1 58.5 66.6 | 1.8 | Y280S-8 Y280M-8 Y315S-8 | 37/380 45/380 55/380 | |
150ZJ-I-A55 | 980 | 248 431 504 | 53.4 50.8 49.3 | 65.3 86.4 94.5 | 55.2 69.0 71.6 | 3.5 | Y315M-6 Y315L1-6 Y315L1-6 | 90/380 110/380 110/380 |
730 | 184 321 376 | 29.6 28.2 27.4 | 26.9 35.7 39.2 | 55.2 69.0 71.6 | 2.3 | Y280S-8 Y280M-8 Y315S-8 | 37/380 45/380 55/380 | |
150ZJ-1-A50 | 980 | 230 380 460 | 43.1 40.0 37.8 | 42.6 55.2 61.7 | 63.3 75.0 76.8 | 3.0 | Y280M-6 Y315S-6 Y315S-6 | 55/380 75/380 75/380 |
730 | 171 283 343 | 23.9 22.2 21.0 | 17.6 22.8 25.5 | 63.3 75.0 76.8 | 2.5 | Y250M-8 Y250M-8 Y280S-8 | 30/380 30/380 37/380 | |
150ZJ-I-A48 | 980 | 221 365 442 | 39.7 36.9 34.8 | 38.4 49.6 55.3 | 62.3 74.0 75.8 | 3.0 | Y280M-6 Y315S-6 Y315S-6 | 55/380 75/380 75/380 |
730 < | 164 272 329 | 22.0 20.3 19.4 | 15.8 20.5 22.9 | 62.3 74.0 75.8 | 2.5 | Y225M-8 Y250M-8 Y250M-8 | 22/380 30/380 30/380 | |
150ZJ-1-C42 | 1480 | 300 450 550 | 62.8 58.0 54.3 | 80.2 96.1 106.5 | 64.0 74.0 76.4 | 4.5 | Y315S-4 Y315M-4 Y355M2-4 | 110/380 132/380 132/380 |
980 | 199 298 364 | 27.5 25.4 23.8 | 23.3 27.9 30.9 | 64.0 74.0 76.4 | 2.2 | Y225M-6 Y250M-6 Y280S-6 | 30/380 37/380 45/380 | |
100ZJ-I-A50 | 1480 | 180 300 360 | 100.2 95.0 91.6 | 85.7 113.3 131.7 | 57.3 68.5 68.2 | 4.5 | Y315S-4 Y315M-4 Y315L1-4 | 110/380 132/380 160/380 |
980 | 119 199 238 | 43.9 41.7 40.2 | 24.8 33.0 38.2 | 57.3 68.5 68.2 | 2.5 | Y225M-6 Y280S-6 Y280M-6 | 30/380 45/380 55/380 | |
100ZJ-1-A46 | 1480 | 166 276 331 | 84.8 80.4 77.5 | 69.3 90.9 105.5 | 55.3 66.5 66.2 | 4.2 | Y280M-4 Y315S-4 Y315M-4 | 90/380 110/380 132/380 |
980 | 109 183 219 | 37.2 35.3 34.0 | 20.0 26.5 30.6 | 55.3 66.5 66.2 | 2.3 | Y225M-6 Y250M-6 Y250M-6 | 30/380 37/380 37/380 | |
100ZJ-I-A42 | 1480 | 140 245 275 | 70.8 67.0 65.5 | 50.3 65.7 69.7 | 53.7 68.0 70.4 | 4.0 | Y280S-4 Y280M-4 Y280M-4 | 75/380 90/380 90/380 |
980 | 93 162 182 | 31.0 29.4 28.7 | 14.6 19.1 20.2 | 53.7 68.0 70.4 | 2.5 | Y200L2-6 Y225M-6 Y225M-6 | 22/380 30/380 30/380 | |
100ZJ-1-B42 | 1480 | 176 309 365 | 66.8 60.5 56.9 | 55.7 73.3 79.0 | 57.5 69.5 71.6 | 5.1 | Y280S-4 Y280M-4 Y280M-4 | 75/380 90/380 90/380 |
980 | 117 205 242 | 29.3 26.5 24.9 | 16.2 21.3 22.9 | 57.5 69.5 71.6 | 2.5 | Y200L2-6 Y225M-6 Y225M-6 | 22/380 30/380 30/380 | |
100ZJ-1-A39 | 1480 | 130 228 255 | 61.0 57.8 56.5 | 41.8 54.4 57.4 | 51.7 66.0 68.4 | 3.8 | Y250M-4 Y280S-4 Y280S-4 | 55/380 75/380 75/380 |
980 | 86 150 169 | 26.7 25.4 24.7 | 12.1 15.7 16.6 | 51.7 66.0 68.4 | 2.4 | Y200L1-6 Y200L2-6 Y225M-6 | 18.5/380 22/380 30/380 | |
100ZJ-1-A36 | 1480 | 130 220 245 | 49.5 45.0 43.4 | 28.9 38.0 40.4 | 60.7 71.0 71.6 | 3.5 | Y225S-4 Y250M-4 Y250M-4 | 37/380 55/380 55/380 |
980 | 86 146 162 | 21.7 19.7 19.0 | 8.4 11.0 11.7 | 60.7 71.0 71.6 | 2.0 | Y180L-6 Y180L-6 Y200L1-6 | 15/380 15/380 18.5/380 | |
100ZJ-I-A33 | 1480 | 119 202 225 | 41.6 37.8 36.5 | 23.0 30.1 32.1 | 58.7 69.0 69.6 | 3.2 | Y200L-4 Y225S-4 Y225M-4 | 30/380 37/380 45/380 |
980 | 79 134 149 | 18.2 16.6 16.0 | 6.7 8.8 9.3 | 58.7 69.0 69.6 | 1.8 | Y160L-6 Y180L-6 Y180L-6 | 11/380 15/380 15/380 | |
80ZJ-1-A52 | 1480 | 107 182 242 | 109.8 105.5 99.0 | 82.5 100.6 115.9 | 38.8 52.0 56.3 | 4.3 | Y315S-4 Y315M-4 Y315L1-4 | 110/380 132/380 160/380 |
980 | 71 121 160 | 48.1 46.3 43.4 | 24.0 29.3 33.6 | 38.8 52.0 56.3 | 2.1 | Y225M-6 Y250M-6 Y280S-6 | 30/380 37/380 45/380 | |
80ZJ-I-A42 | 1480 | 130 170 204 | 70.4 67.2 64.2 | 41.8 47.9 53.5 | 59.6 65.0 66.7 | 4.2 | Y250M-4 Y280S-4 Y280S-4 | 55/380 75/380 75/380 |
980 | 86 113 135 | 30.9 29.5 28.1 | 12.1 14.0 15.5 | 59.6 65.0 66.7 | 2.5 | Y200L1-6 Y200L2-6 Y200L2-6 | 18.5/380 22/380 22/380 | |
80ZJ-I-A39 | 1480 | 121 158 180 | 60.7 57.9 55.4 | 34.7 39.5 44.1 | 57.6 63.0 64.7 | 4.0 | Y225M-4 Y250M-4 Y250M-4 | 45/380 55/380 55/380 |
980 | 80 105 125 | 26.6 25.4 24.2 | 10.1 11.5 12.8 | 57.6 63.0 64.7 | 2.4 | Y180L-6 Y200L1-6 Y200L1-6 | 15/380 18.5/380 18.5/380 | |
80ZJ-1-A36 | 1480 | 98 140 190 | 51.4 48.0 42.7 | 23.6 27.7 32.6 | 58.2 66.0 67.7 | 3.7 | Y200L-4 Y225S-4 Y225M-4 | 30/380 37/380 45/380 |
980 | 65 93 126 | 22.5 21.0 18.7 | 6.8 8.1 9.5 | 58.2 66.0 67.7 | 2.5 | Y160L-6 Y160L-6 Y180L-6 | 11/380 11/380 15/380 | |
80ZJ-I-A33 | 1480 | 90 128 174 | 43.2 40.3 35.9 | 18.8 21.9 25.9 | 56.2 64.0 65.7 | 3.4 | Y200L-4 Y200L-4 Y225S-4 | 30/380 30/380 37/380 |
980 | 60 85 116 | 18.9 17.6 15.7 | 5.5 6.4 7.4 | 56.2 64.0 65.7 | 2.2 | Y160M-6 Y160L-6 Y160L-6 | 7.5/380 11/380 11/380 | |
65ZJ-I-A30 | 1460 | 47 62 79 | 34.8 33.9 32.0 | 7.9 9.2 10.8 | 56.2 62.0 63.5 | 3.0 | Y160M-4 Y160L-4 Y160L-4 | 11/380 15/380 15/380 |
960 | 31 41 52 | 15.0 14.7 13.8 | 2.3 2.6 3.1 | 56.2 62.0 63.5 | 2.0 | Y132M1-6 Y132M2-6 Y132M2-6 | 4/380 5.5/380 5.5/380 | |
65ZJ-1-A27 | 1460 | 42 56 71 | 28.2 27.5 25.9 | 6.0 7.0 8.1 | 54.2 60.0 61.5 | 2.7 | Y160M-4 Y160M-4 Y160M-4 | 11/380 11/380 11/380 |
960 | 28 37 47 | 12.2 11.9 11.2 | 1.7 2.0 2.3 | 54.2 60.0 61.5 | 1.8 | Y132S-6 Y132M1-6 Y132M1-6 | 3/380 4/380 4/380 | |
50ZJ-I-A50 | 1480 | 57 91 111 | 110.7 105.5 99.8 | 50.7 60.9 66.9 | 33.9 42.9 45.1 | 3.8 | Y280S-4 Y280S-4 Y280M-4 | 75/380 75/380 90/380 |
980 | 38 60 74 | 48.5 46.3 43.8 | 14.8 17.6 19.6 | 33.9 42.9 45.1 | 3.0 | Y200L2-6 Y225M-6 Y225M-6 | 22/380 30/380 30/380 | |
50ZJ-I-A46 | 1480 | 48 77 94 | 85.8 82.3 79.9 | 34.8 41.4 45.8 | 32.2 41.7 44.7 | 2.9 | Y225M-4 Y250M-4 Y250M-4 | 45/380 55/380 55/380 |
970 | 31 50 62 | 36.9 35.4 34.3 | 9.7 11.6 13.0 | 32.2 41.7 44.7 | 1.4 | Y180L-6 Y180L-6 Y200L1-6 | 15/380 15/380 18.5/380 | |
50ZJ-I-A33 | 1480 | 26 40 54 | 42.5 40.0 34.5 | 9.2 10.7 12.3 | 32.8 40.6 41.4 | 6.0 | Y160L-4 Y180M-4 Y180M-4 | 15/380 18.5/380 18.5/380 |
960 | 17 26 35 | 17.9 16.8 14.5 | 2.5 2.9 3.3 | 32.8 40.6 41.4 | 2.9 | Y132M1-6 Y132M2-6 Y132M2-6 | 4/380 5.5/380 5.5/380 | |
40ZJ-1-A19 | 2930 | 16.3 30.0 34.9 | 57.1 54.9 53.7 | 6.5 8.1 8.7 | 39.2 55.4 58.8 | 4.9 | Y160M1-2 Y160M1-2 Y160M1-2 | 11/380 11/380 11/380 |
1430 | 8.0 14.6 17.0 | 13.6 13.1 12.8 | 0.8 0.9 1.0 | 39.2 55.4 58.8 | 1.3 | Y900L-4 Y900L-4 Y100L1-4 | 1.5/380 1.5/380 2.2/380 | |
40ZJ-1-A17 | 2900 | 9.4 17.9 23.4 | 44.6 42.7 39.3 | 3.5 4.3 4.9 | 33.2 49.5 52.4 | 4.5 | Y132S1-2 Y132S2-2 Y132S2-2 | 5.5/380 7.5/380 7.5/380 |
1400 | 4.5 8.6 11.3 | 10.3 9.9 9.1 | 0.4 0.5 0.5 | 33.2 49.5 52.4 | 2.5 | Y801-4 Y90S-4 Y90S-4 | 0.55/380 1.1/380 1.1/380 | |
Industrial Applications
The Kenda ZJ Series is a heavy-duty solution for transporting abrasive and corrosive slurries in mining, power, coal, and metallurgy sectors. Engineered to handle solid concentrations up to 45% for ash and 60% for mineral pulp, it excels in demanding tasks such as tailings transport, ash removal, and coal washing. For maximum operational flexibility, the series supports multiple drive types (DC, Belt Drive, VFD) and can be configured in series or parallel to meet specific industrial flow requirements.
FAQ
Q: What is the maximum concentration the ZJ pump can handle?
A: The ZJ series can handle abrasive slurries with a maximum weight concentration of 45% for ash and 60% for ore pulp.
Q: Can ZJ pumps be used in series?
A: Yes, the ZJ series is designed with a high-pressure casing that allows multi-stage series installation for long-distance transportation.